Journal Bearing Pressure-Fed
(To be removed) Hydraulic portion of pressure-fed journal bearing
The Hydraulics (Isothermal) library will be removed in a future release. Use the Isothermal Liquid library instead.
For more information on updating your models, see Upgrading Hydraulic Models to Use Isothermal Liquid Blocks.
Library
Orifices
Description
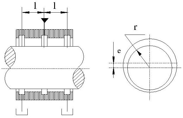
The Journal Bearing Pressure-Fed block simulates the hydraulic portion of a pressure-fed journal bearing, shown in the following illustration.

The lubricant under pressure p is pumped into the circumferential groove at the center of the bearing. The groove divides the bearing into two half-bearings. The lubricant exits through the end grooves located at a distance l from the central groove. The model is intended to be used in lubrication system simulation to assess the flow consumption through the pressure-fed journal bearing. The flow regime is assumed to be laminar due to very small clearances between the journal and the bushing.
The flow rate is computed using the Hagen-Poiseuille equation (see [1]):
where
| q | Volumetric flow rate |
| p | Pressure differential across the bearing |
| r | Journal radius |
| c | Radial clearance at neutral position |
| μ | Dynamic viscosity |
| l | Length of the half-bearing |
| ε | Relative eccentricity, ε = e / r |
| e | Eccentricity or journal deflection from the central position |
The journal radial displacement, which controls the bearing eccentricity, is imported through the physical signal port J. Connections A and B are hydraulic conserving ports associated with the bearing inlet and outlet, respectively. The block positive direction is from port A to port B. This means that the flow rate is positive if it flows from A to B and the pressure differential is determined as . Positive signal at the physical signal port J increases the eccentricity and is limited to the radial clearance of the bearing.
Basic Assumptions and Limitations
The flow regime is assumed to be laminar due to small clearances.
Parameters
- Journal radius
The radius of the journal. The parameter must be positive. The default value is
0.05m.- Radial clearance
The radial clearance between the journal and the bushing at neutral position. The parameter must be positive. The default value is
2e-4m.- Bearing half-length
The length of the half-bearing, that is, the distance between each of the end grooves and the central groove. The parameter must be positive. The default value is
0.025m.
Global Parameters
Parameters determined by the type of working fluid:
Fluid density
Fluid kinematic viscosity
Use the Hydraulic Fluid block or the Custom Hydraulic Fluid block to specify the fluid properties.
Ports
The block has the following ports:
AHydraulic conserving port associated with the bearing inlet.
BHydraulic conserving port associated with the bearing outlet.
JPhysical signal port that controls the journal deflection.
References
[1] Shigley, J., C. Mischke, and R. Budynas. Mechanical Engineering Design. New York: McGraw-Hill, 2004.
